Reveal Molding - Infiniti (7975550J10)

Reveal Molding - Infiniti (7975550J10)

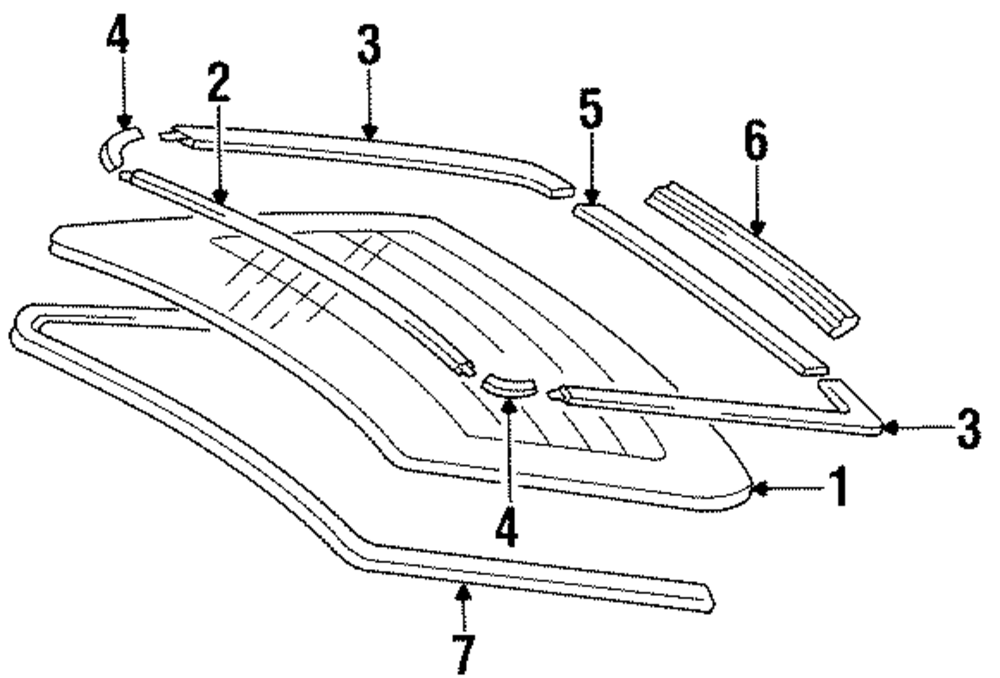
Part can be found as reference #4 in illustration

Reveal Molding - Infiniti (7975550J10)

Currently Unavailable

Details

  • Brand:

     Parts

  • SKU:

    7975550J10

  • Positions: Left
  • Other Names:

    Molding-Back Wind Crnr Uppr Left-hand

  • Description:

    Upper corner.

  • Condition: New
  • Replaces:

    7975550j00

Vehicle Fitment

Vehicle Fitment
Year Make Model Body & Trim Engine & Transmission
( more fitments)
No fitment data available

Infiniti of Memphis Parts

Shop Genuine Infiniti Parts & Accessories Online 

Here at Infiniti of Memphis Parts, we carry a huge stock of high-quality Infiniti Genuine Parts for all cars and SUVs. We’ve got the perfect parts and accessories made to fit the exact specifications of your vehicle. When it comes time for replacement parts, avoid needless delays.  

Infiniti

OEM Infiniti Parts and Accessories