Radiator & Components for 1996 INFINITI I30

Vehicle

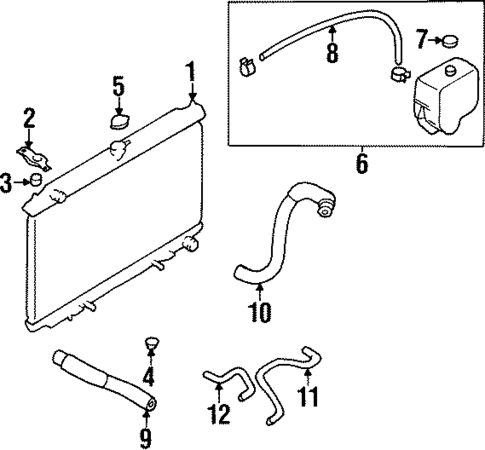
1996 INFINITI I30

Change Vehicle

Categories

Browse Categories
Radiator & Components for 1996 INFINITI I30 #0 Radiator & Components for 1996 INFINITI I30 #1
No.
Part # / Description / Price
Price
2
Radiator Bracket
Infiniti Infiniti
Positions: Left
MSRP $26.73
$22.46
MSRP $26.73
$22.46
3
Radiator Mount Cushion
Infiniti Infiniti
Positions: Right
Description: Upper.
MSRP $9.43
$7.92
MSRP $9.43
$7.92
4
Radiator Mount Cushion
Infiniti Infiniti
Positions: Left
Description: Lower, to 9/96.
7
Reservoir Cap
Infiniti Infiniti
Notes: PARTS: Part is included in reservoir assembly.
Description: 2002-2004.
MSRP $10.37
$8.71
MSRP $10.37
$8.71
8
Hose
Infiniti Infiniti
Notes: PARTS: Part is included in reservoir assembly.
11
Hose
Infiniti Infiniti
Positions: Right
Description: Auto trans cooler.
12
Hose
Infiniti Infiniti
Positions: Left
Description: Auto trans cooler.
Radiator & Components for 1996 INFINITI I30 #1
No.
Part # / Description / Price
Price
1
Radiator
Infiniti Infiniti
Description: I30. Auto trans.
1
Radiator
Infiniti Infiniti
Description: I30. Manual trans.
3
Lower Hose
Infiniti Infiniti
Description: I30.
MSRP $58.43
$45.58
MSRP $58.43
$45.58
4
Cap
Infiniti Infiniti
MSRP $31.88
$26.78
MSRP $31.88
$26.78
5
Water Pump Assembly
Infiniti Infiniti
Description: I30. QX4. 2001-03.
MSRP $153.92
$108.97
MSRP $153.92
$108.97
6
Thermostat Unit
Infiniti Infiniti
MSRP $56.05
$43.72
MSRP $56.05
$43.72
8
Fan Blade
Infiniti Infiniti
Description: To 1/97. I30. Right.
8
Fan Blade
Infiniti Infiniti
Description: To 1/97. I30. Left.
9
Fan Motor
Infiniti Infiniti
Description: I30. To 1/97.
10
Fan Shroud
Infiniti Infiniti
Description: I30. To 1/97.